[京ディスポ医療機器®]サイドドラフト式ネブライザーマウスピースセット(1個/1セット) [型番:Ym-010]
[京ディスポ医療機器®]サイドドラフト式ネブライザーマウスピースセット(1個/1セット)
[型番:Ym-010]
販売価格: 1,562円(税込)
在庫数49点
商品詳細
◆商品特長
- 各部品の接続部はテーパー(勾配)で、接続しやすく外れにくい構造
- 横臥位(体を横にした状態)で使えるので体の負担が少ない
- 星形チューブ構造が、よじれや折れを防止し安定した供給をサポート
- テーパー形状のコネクターにより、確実な接続と簡単な着脱を実現
- 未滅菌
- 20cc、目盛り有
- 空気を横から供給
- 45°の角度まで使用可
- 上方向接続部外径: 先端部17mm 中央部18mm
◆商品内容
- 型番:Ym-010
- 名称:サイドドラフト式ネブライザマウスピースセット
- セット内容:サイドドラフト式ネブライザージャー(20cc)1個/マウスピース1個/Tコネクタ1個/リザーバー管1個/酸素チューブ2m(透明)1個/
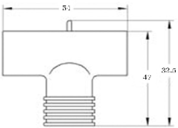
- サイズ:添付画像/◆商品特長に記載あり/コネクタ接続部(外径12.5mm/内径5mm)/チューブ(外径5mm/内径4mm)
- 材質:ネブライザージャー(PP)/酸素チューブ(ポリ塩化ビニル(PVC))
- JANコード:4582290770376
- 届出番号:26B1X10007000029
- 添付文書:使用方法・注意書きなどの商品許可証(医療機器総合機構/PMDA)
◆価格
- 1,562円(税込)/セット
※大量購入の方はお値引きいたします。お問い合わせ下さい。

この商品は普通郵便で発送いたします。お急ぎの場合は宅配便をお選び下さい。
単品カタログ
総合カタログ(画像クリックで大きくなります)
レビュー
0件のレビュー